广西的4所医学院校,除了广西医科大学还有谁,毕业生都去哪了?
拥有五千万人的广西,医学教育资源挺丰富,除了广西医科大学,还有桂林医学院、右江民族医学院、广西中医药大学三所医学院校开设有临床医学专业。这不是小编瞎说的,相关数据来自2022年12月5日对外公开的临床医学专业认证结论。

实事求是讲,广西的这4所医学院校发展水平总体一般,领头羊广西医科大学在第四轮学科评估中,有6个学科上榜,并且全部都是C+,与国内一流医学院校的距离还不小。至于广西中医药大学、桂林医学院两校第四轮学科评估结果更加不理想,右江民族医学院没有学科上榜。



由于考生和家长对临床医学专业寄予厚望、联想无限,所以医学院校录取分数线相当高。就今天的4所院校来说,2022年录取分数线都不低,下面我们一一看看大概都是多少分。
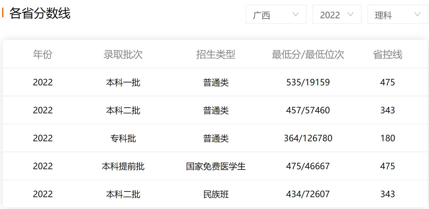
广西医科大学2022年各批次录取最低分数线。


广西中医药大学2022年各批次录取最低分数线。


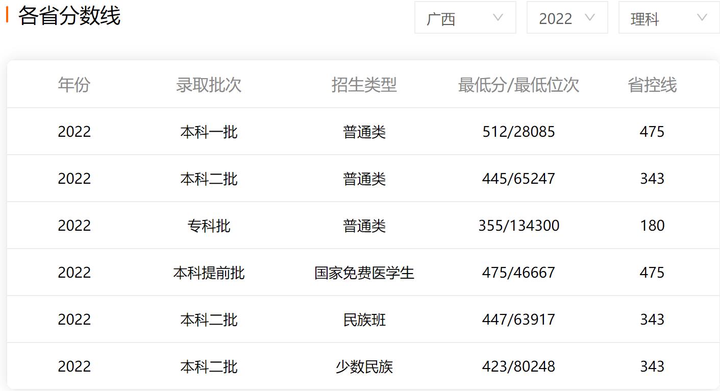
桂林医学院2022年各批次录取最低分数线。


右江民族医学院2022年各批次录取最低分数线。


如果要上临床医学专业,特别是临床医学5+3一体化等招生类别的话,分数还要更高。所以,想学习医学的朋友,一定要好好学习哦,确保自己的分数能让自己到理想院校和专业去学习。
由于4所院校在招生分数、资源保障等诸多方面,已经明显拉开了档次,不存在选择的问题,我们就不再过多关注录取的问题,而是关注一下她们的毕业生就业情况。

我们主要从四个方面,来认识一下4所院校的毕业生都到哪去了。文中相关数据和图表,主要依据是各校2021届毕业生就业质量报告。有个情况需要提前说明,那就是右江民族医学院没有对外公开就业质量报告,所以我们只能在最后简单看一下本科教学质量报告提供的2021届毕业生分专业去向落实情况。
壹、本科毕业生都在2000人左右,像广西医科大学这样的学校居然还有3000多名专科毕业生
广西医科大学 2021 届毕业生总人数为 7270 人。其中,专科毕业生 3504 人,占毕业生总人数的 48.20%;本科毕业生 2376 人,占毕业生总人数的 32.68%;硕士毕业生 1273 人,占毕业生总人数的 17.51%;博士毕业生 117 人,占毕业生总人数的 1.61%。从性别结构来看,专科、本科、硕士毕业生中均以女生居多,而博士则相对均衡,男生占比略高于女生。

广西中医药大学2021届毕业生数3871人,比2020届增加31人。其中研究生576人,本科毕业生1999人,高职毕业生1296人。2021届毕业生中,男性毕业人数862人,占毕业生数的22.27%,女性毕业人数3009人,占毕业生数的77.73%,男女比1:3.49。

桂林医学院2021届毕业生数3205人,其中研究生304人,本科毕业生2405人,高职毕业生496人。2021届毕业生中,男性毕业人数877人,占毕业生数的27.36%,女性毕业人数2328人,占毕业生数的72.64%,男女比1:2.65。


贰、毕业去向分布统计口径不完全一致,毕业生升学比例分层较为明显
广西医科大学2021 届毕业生的总体毕业去向落实率为 89.11%,其中专科、本科、硕士、博士毕业生的毕业去向落实率分别为 89.18%、87.54%、91.83%、88.89%,多数毕业生已落实就业。毕业生以直接就业为主,最主要的去向是“签就业协议形式就业”。其中,本科毕业生“国内升学”的比例也较高(34.05%)。

广西中医药大学2021届毕业生初次毕业去向落实率81.48%,其中研究生落实率82.12%,本科生落实率78.94%,高职生落实率85.11%。从毕业生去向流向分布来看,吸纳毕业生人数最多的是医疗卫生单位,共1365人,占就业总人数的43.28%,其次是私营企业,人数为801人,占就业总人数的25.40%。本科毕业生升学313人(报告数据如此),占本科毕业生总人数(1999人)的15.66%。

桂林医学院2021届毕业生初次毕业去向落实率89.17%,其中研究生落实率90.46%,本科生落实率88.81%,高职生落实率90.12%。本科毕业生以直接就业为主,最主要的去向是“签就业协议形式就业”。其中,本科毕业生“国内升学”的比例为11%。

叁、就业单位都以医疗卫生单位为主,但都没有公布具体的单位组成情况
在第二部分,已经涉及到广西中医药大学的就业单位问题,这一部分我们就不再重复。

广西医科大学2021届专科、本科、硕士、博士毕业生主要就业的用人单位类型是医疗卫生单位,比例分别为 57.62%、46.28%、92.83%、76.92%。另一方面,博士毕业生有较大比例就业的用人单位为高等教育单位。

桂林医学院2021届毕业生就业单位多元化,从校方公布的统计数据来看,有1222名本科生到医疗卫生单位工作。

肆、就业地主要是区内,区外以发达地区为主
广西医科大学2021 届各学历毕业生均主要在广西区内就业,其次是广东省。

广西中医药大学2021届毕业生主要以广西地区就业为主,区内就业人数为1776人,占就业总人数的78.38%。从区内各地就业人数来看,毕业生主要集中在南宁,其次是柳州市、玉林市、桂林市吸纳毕业生的人数较多,分别是188人、154人和109人。从区外就业区域来看,主要集中在广东省,就业人数为230人,占就业总人数的10.15%。

桂林医学院已就业的 2858 名毕业生,在广西区内就业的有 2041 人,占 71.41%:在区外就业的有 817 人,占28.59%,其中在珠江三角洲就业的人数有 317人,占 11.09%;在长江三角洲就业的人数有 145 人,占 5.07%;在津京唐地区就业的人数有32人,占1.12%。

上面我们一直没提右江民族医学院,主要是该校没有对外公开就业质量报告。我们能看到的主要是下面这张2021届分专业毕业生去向落实率表格,来自该校的2020—2021学年本科教学质量报告。

至于大家最为关心的到三甲医院就业情况,4所院校都守口如瓶、视如珍宝,并没有在质量报告中对外公开相关信息。